
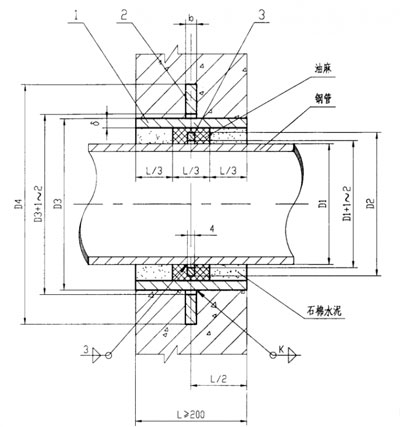
02S404圖集上A型剛性防水套管的結構圖
剛性防水套管適用于管道穿墻處不承受管道振動和伸縮變形的構(建)筑物,A型適用于鋼管。從圖中可以看到套管的管材厚度為δ,套管的外徑為D3,所穿的鋼管的外徑為D1。對應于A型剛性防水套管的各個部位的尺寸。舉個例子,DN50的A型剛性防水套管,它的外徑為D3=114,而能夠穿的鋼管的外徑為D1=60。再舉個例子,DN80的A型剛性防水套管,它的外徑為D3=140,而能夠穿的鋼管的外徑為D1=89。鋼管的公稱直徑與外徑的對照表,DN50的鋼管的外徑為57(B型),DN80的鋼管的外徑為89(B型)。(注:B型指國內沿用系列<公制管>)
綜上所述不難知道,DN50的A型剛性防水套管對應的穿過的鋼管的公稱直徑為DN50(φ=60.3)。進一步管材發現,剛性防水套管的公稱直徑也與穿過的鋼管的公稱直徑是一一對應的關系,且對應關系為:剛性防水套管DNXX=DNXX的鋼管。
所以,在設計中,如果一根DN50的鍍鋅鋼管要穿過人防地下室外墻要預埋剛性防水套管時,所需的剛性防水套管尺寸為DN50,而不是所謂的“穿過防護墻的套管管徑小了。(一般應比該穿管管徑大兩號)DN25穿管套管應是DN50”。